TM 9-2330-231-14&P
ELECTRICAL SYSTEM
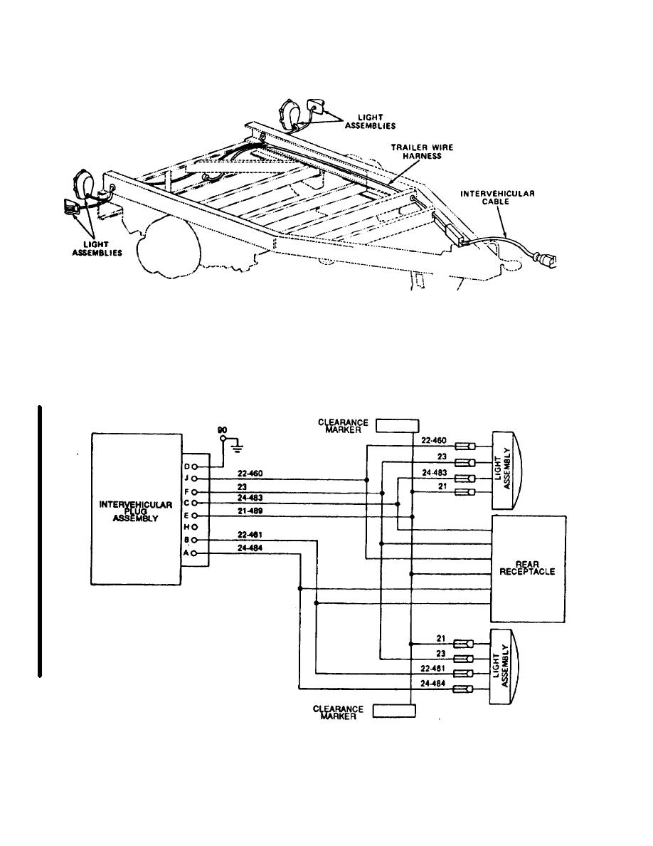
Intervehicular Cable-When connected, the intervehicular cable carries electrical current from the towing vehicle to trailer wire
harness.
Trailer Wire.
Harness- The trailer wire harness carries electrical current to trailer light assemblies and rear electrical
receptacle.
Light Assemblies- The light assemblies provide stoplight, taillight, turn signal, light, marker light, and clearance lights.
Change 1 1-8