Home
Download PDF
Order CD-ROM
Order in Print
GROUP 1812 SPECIAL PURPOSE BODIES -CONT. - TM-9-2330-271-14-P0344
GROUP 1812 SPECIAL PURPOSE BODIES -CONT. - TM-9-2330-271-14-P0346
TM-9-2330-271-14-P Semitrailer Van: Electronic 10-Ton 4 Wheel Manual
Page Navigation
332
333
334
335
336
337
338
339
340
341
342
SECTION
II
TM
9-2330-271-14&P
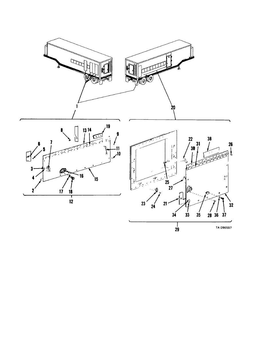
Figure
68.
Access
openings,
XM654.
E-178