Share on Google+Share on FacebookShare on LinkedInShare on TwitterShare on DiggShare on Stumble Upon
Custom Search
 
  
 
TM 9-2330-394-13&P
SPLASH GUARD REPLACEMENT - Continued
0090 00
INSTALLATION - Continued
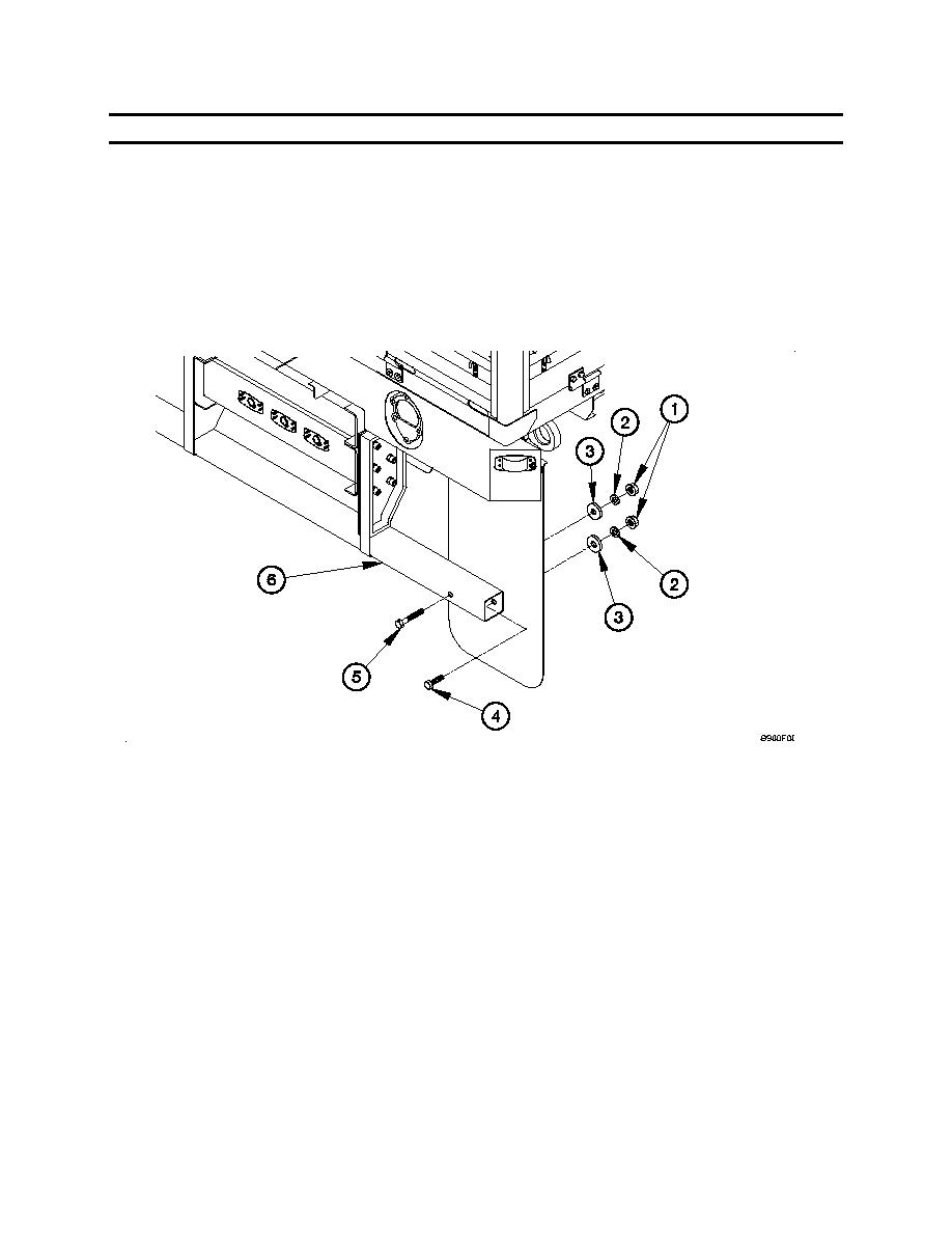
2.
Position two screws (4 and 5), resilient mounts (3), washers (2), and nuts (1) on rear bumper
(6).
Tighten two nuts (1) and three (7) to 22-28 lb-ft (30-38 Nm).
3.
END OF WORK PACKAGE
0090 00-3/4 Blank


 


Privacy Statement - Copyright Information. - Contact Us

Integrated Publishing, Inc. - A (SDVOSB) Service Disabled Veteran Owned Small Business