Share on Google+Share on FacebookShare on LinkedInShare on TwitterShare on DiggShare on Stumble Upon
Custom Search
 
  
 
TM 9-2330-394-13&P
SHOCK MOUNT CROSSMEMBER REPLACEMENT - Continued
0107 00
REAR SHOCK MOUNT CROSSMEMBER REMOVAL, MTVT - Continued
CAUTION
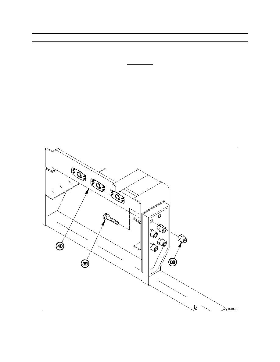
When removing bolts, continuous removal of collars is mandatory. Failure to comply will
result in seizing of collar to bolt.
NOTE
Steps (7) through (9) require the aid of an assistant.
7.
Remove two collars (38) and bolts (39) from rear marker light bracket (40). Discard collars and bolts.
8.
Perform step (7) on left side of rear marker light bracket (40).
9.
Remove rear marker light bracket (40) from trailer.
0107 00-10


 


Privacy Statement - Copyright Information. - Contact Us

Integrated Publishing, Inc. - A (SDVOSB) Service Disabled Veteran Owned Small Business