Home
Download PDF
Order CD-ROM
Order in Print
TABLE 8-8. ENGINE STARTER CIRCUITS (FIG. 8-5)
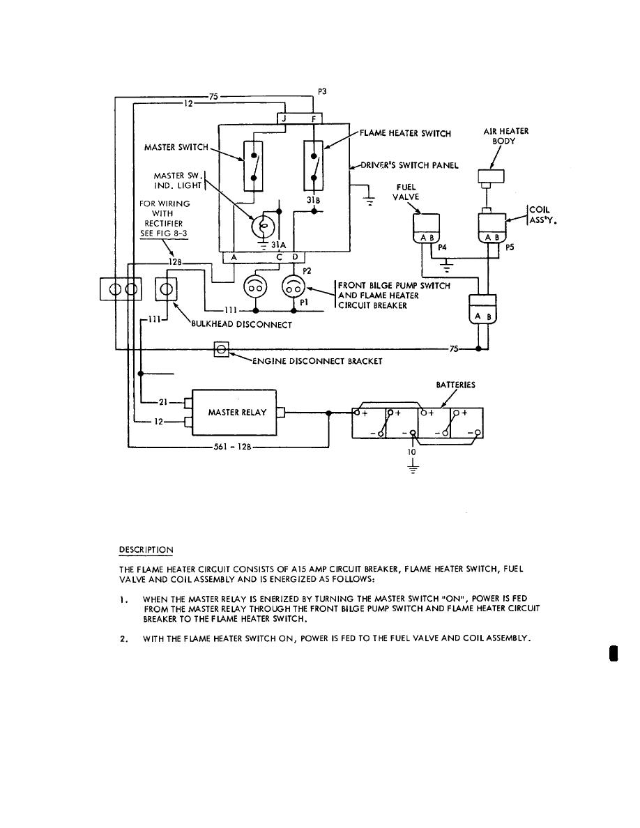
TABLE 8-9. FLAME HEATER CIRCUITS (FIG. 8-6)
TM-9-2350-230-12 Armored Reconnaissance/Airborne Assault Vehicle Full-Tracked 152 MM M551 2350-873 5408 Manual
Page Navigation
275
276
277
278
279
280
281
282
283
284
285
C9,
TM
9-2350-230-12
WE
66624
Figure
8-6.
Troubleshooting-flame
heater
circuits
8-54