Home
Download PDF
Order CD-ROM
Order in Print
Figure 9-103.4. Removal/installation - electrical harnesses (1 of 2).
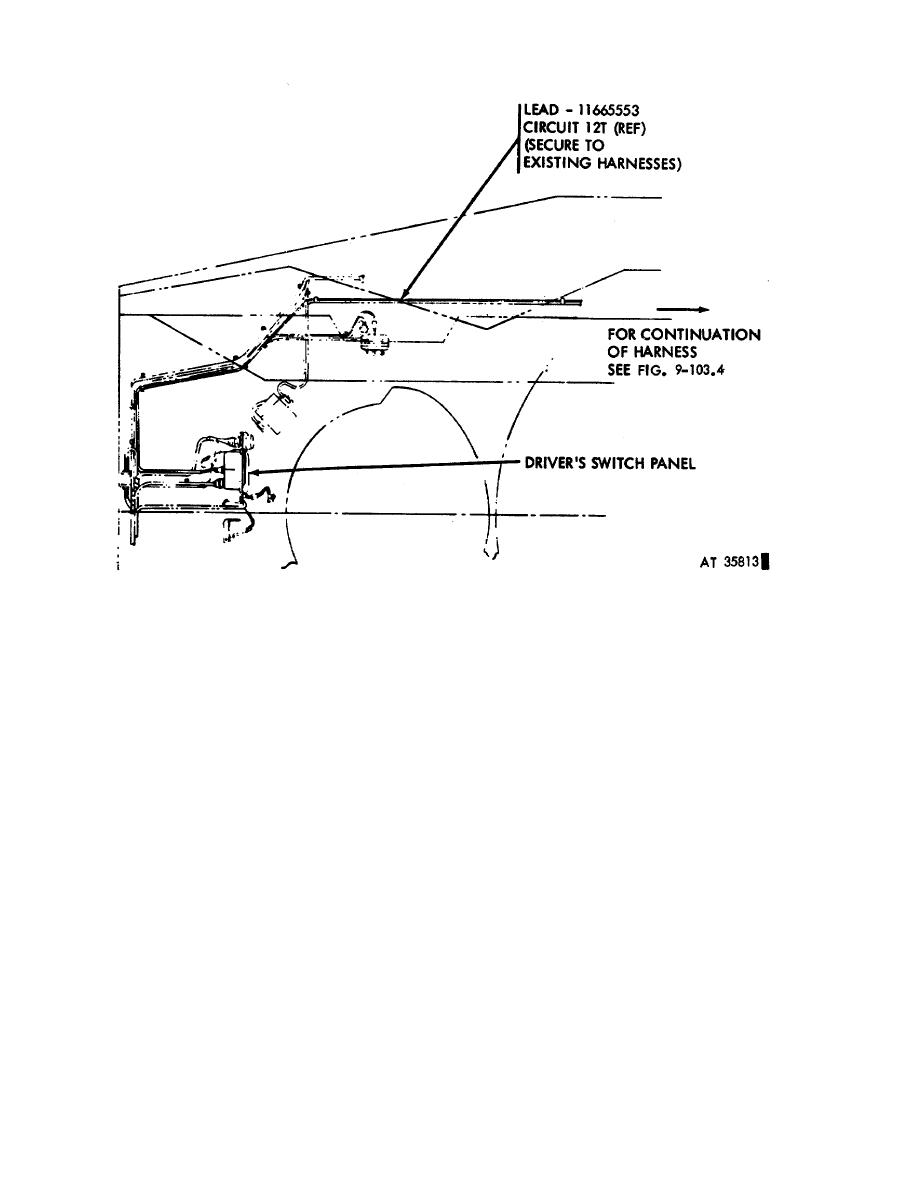
Figure 9-104. Driver's switch panel - lead connection guide
TM-9-2350-230-12 Armored Reconnaissance/Airborne Assault Vehicle Full-Tracked 152 MM M551 2350-873 5408 Manual
Page Navigation
458
459
460
461
462
463
464
465
466
467
468
C
11,
TM
9-2350-230-12
Figure
9-103.5.
Removal/installation
-
electrical
harnesses
(2 of
2).
(9-110.6
blank)/9-110.
5