TM 9-2320-366-10-2
a. Raise Machine Gun Platform.
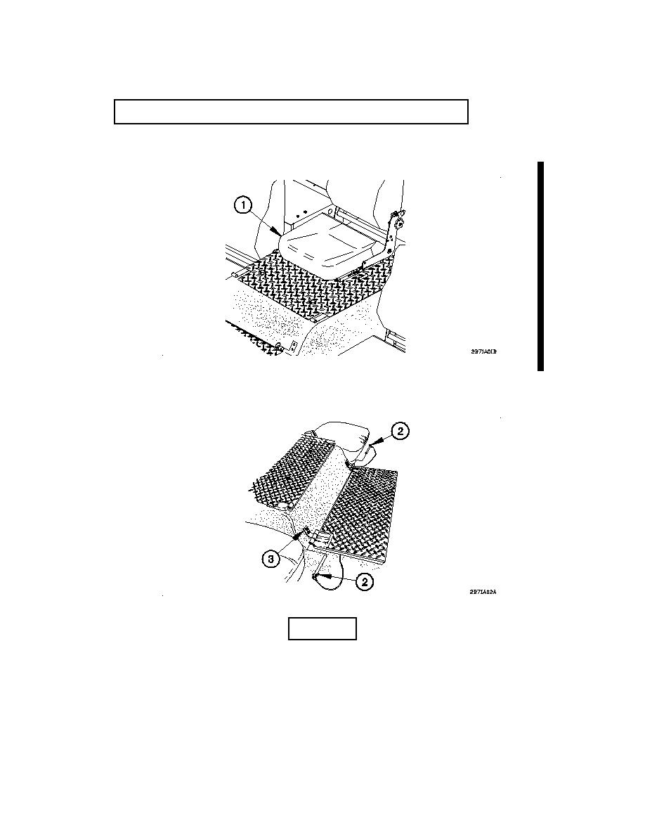
(1) Fold center seat (1) up.
CAUTION
Lower platform must be securely pinned to stowage bracket or upper
platform. Failure to comply may result in damage to equipment.
(2) Disconnect two quick release pins (2) from storage brackets (3).
Change 1