TM9-2330-368-14 & P
1
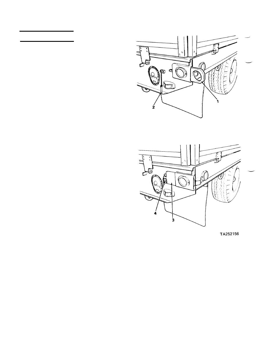
2-19. LIFTING EYES
I
To extend lifting eyes(1), pull out lock
a.
pins (2) and slide lifting eyes outward fully.
b. To retract lifting eyes (3), slide lifting eyes
inward fully so ears are over retaining blocks
(4). Insert lock pins.
2-26