TM 9-2330-384-14&P
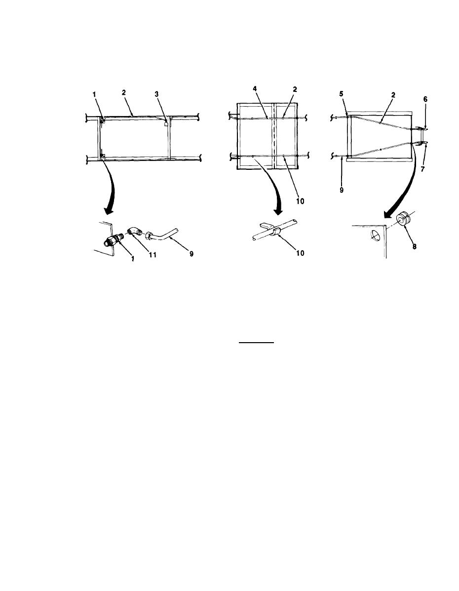
4-39. AIR LINES AND FITTINGS REPLACEMENT (Con't).
7.
SERVICE air coupling
1.
Terminal bolt
8.
11/16 In. inside diameter grommet
2.
3/8 outside diameter clip
9.
1/2 in. outside diameter SERVICE air line
3.
Brake interlock installation
10.
1/2 in. outside diameter clip
4.
3/8 in. outside diameter EMERGENCY air line
11.
90 degree elbow
5.
7/16 In. inside diameter grommet
6.
EMERGENCY air coupling
CAUTION
Use caution when removing or installing air lines (4 or 9) at clips (2 or
l
10). Clips should be lifted gently and only enough to release air lines.
When securing air lines under clips, a soft-faced hammer should be
used to tap clips back into place. Improper handling of clips will cause
them to break.
If two or more consecutive clips (2 or 10) are missing or damaged, air
l
lines (4 or 9) will not be adequately supported. Damage to air lines may
result.
(4)
If two of more consecutive clips (2 or 10) are missing or damaged, notify direct support
maintenance.
4-113