Home
Download PDF
Order CD-ROM
Order in Print
Section XVII. MAINTENANCE OF FRAME AND TOWING ATTACHMENTS
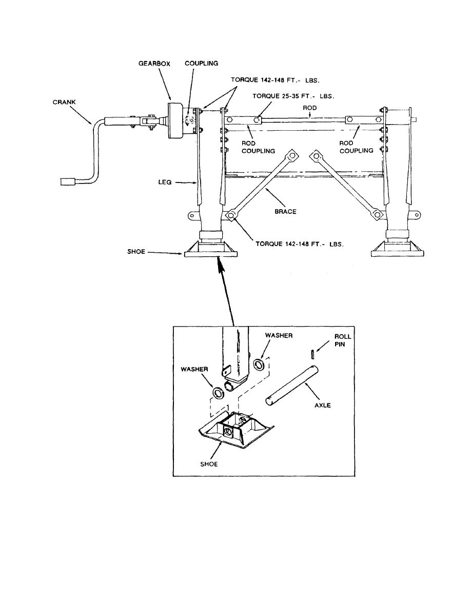
Figure 4-63. Ground Board Assembly
TM-9-2330-388-14 Semitrailer Tank: 5000 Gallon (Potable Water Dispensing) XM1098 (NSN 2330-01-330-2779) Manual
Page Navigation
180
181
182
183
184
185
186
187
188
189
190
TM
9-2330-388-14
Figure
4-62.
Landing
Gear
Installation
4-128