TM 9-2350-222-10-3
T R O U B L E S H O O T I N G - Continued
MALFUNCTION
TEST OR INSPECTION
CORRECTIVE ACTION
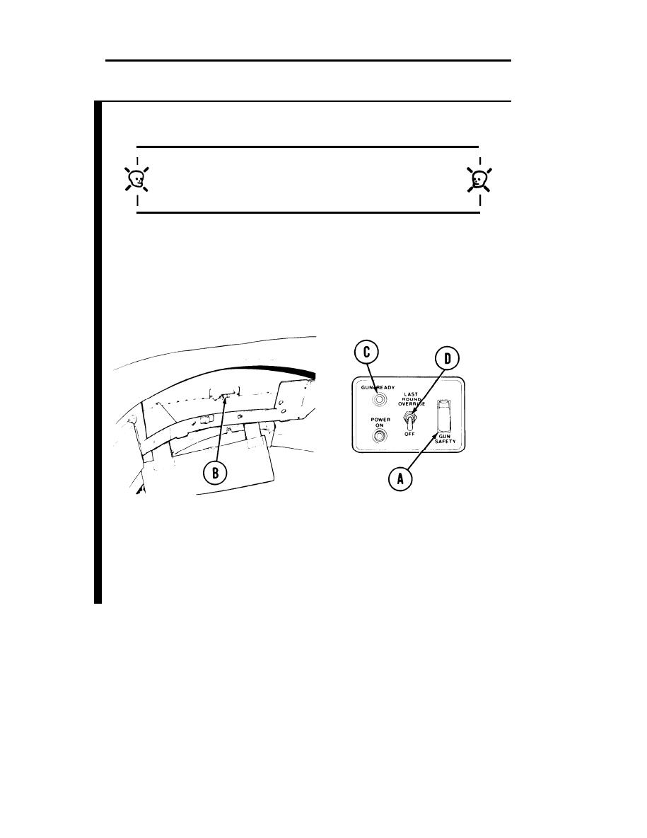
23. CALIBER .50 MACHINE GUN READY LAMP DOES NOT LIGHT
WARNING
D O not actuate machine gun trigger switch during the
following steps.
Step 1. Set MASTER BATTERY and CUPOLA POWER switches to ON.
Set GUN SAFETY switch (A) to FIRE. With ammo loaded or last
round stop switch (B) depressed, check if GUN READY indicator
(C) lights.
a. If yes, proceed with normal operation.
b. If no, proceed to step 2.
Step 2. Set LAST ROUND OVERRIDE switch (D) to on. Check if GUN
READY indicator (C) lights.
a. If yes, proceed to step 3.
b. If no. proceed to step 4.
TA252942