Home
Download PDF
Order CD-ROM
Order in Print
ELECTRIC HEATERS HR1. HR2. AND HR3 TESTING AND REPLACEMENT.
THERMOSTATIC SWITCH S8 TESTING AND REPLACEMENT.
TM-9-4110-258-13 Refrigeration Unit Mechanical 9K BTU Electric Model F9000RE (4110-01-394-6473) Manual
Page Navigation
127
128
129
130
131
132
133
134
135
136
137
TM
9-4110-258-13
4.41
ELECTRIC
HEATERS
HR1.
HR2.
AND
HR3
TESTING
AND
REPLACEMENT.-
Continued
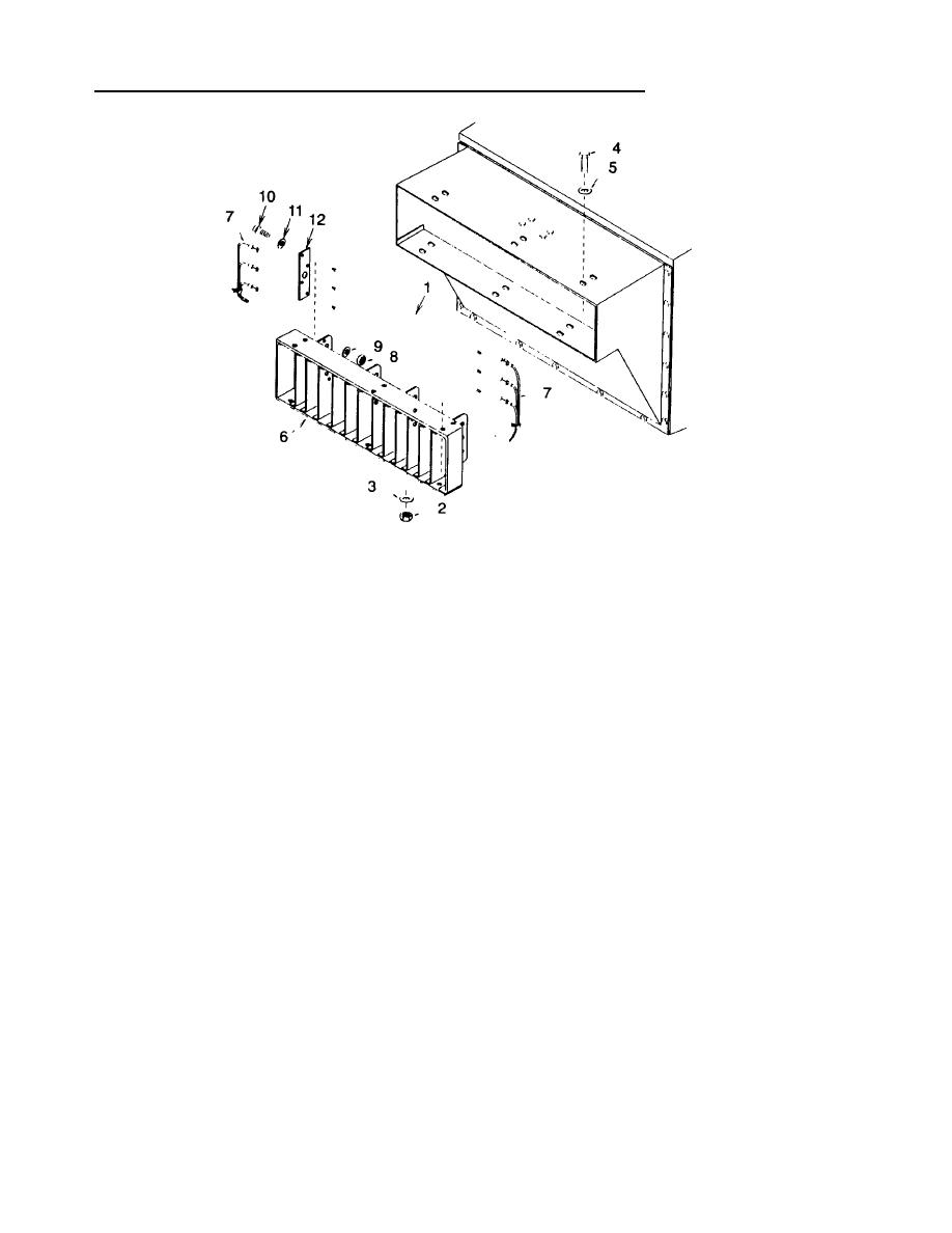
Figure
4-35.
Electric
Heaters
NOTE
FOLLOW-ON
MAINTENANCE:
Connect
power
and
put
unit
back
into
service.
4-90